
Υποστήριξη για τα περιφερειακά του PlayStation 3 στο PlayStation 5;
Πιθανώς να ισχύει, μετά τις τελευταίες κινήσεις της Sony.
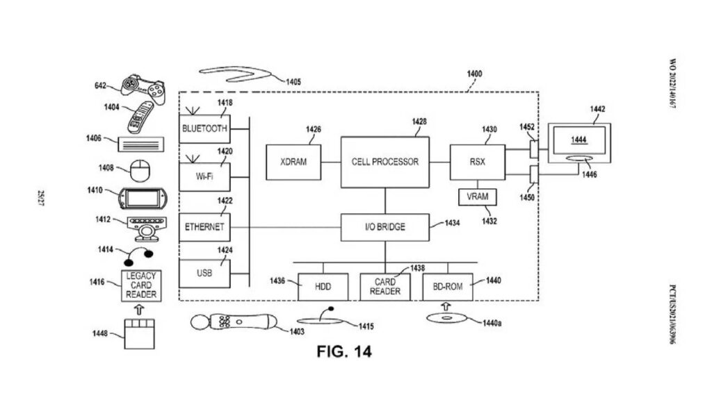
Φαίνεται ότι η Sony έχει κάνει τις απαιτούμενες ενέργειες για να πατεντάρει έναν τρόπο για τη σύνδεση περιφερειακών του PlayStation 3 – συμπεριλαμβανομένων των χειριστηρίων Sixaxis και DualShock 3, του media remote, του PSP και της PlayStation Eye Camera – στο PlayStation 5. Ακόμη και το PlayStation mouse είναι μεταξύ των αξεσουάρ που εμφανίζονται στην εικόνα της πατέντας.
Η εικόνα εντοπίστηκε από το GameRant και μπορείτε να τη δείτε παρακάτω. Στην εικόνα βλέπουμε ένα διάγραμμα που δείχνει μια σειρά από περιφερειακά του PlayStation 3, φαινομενικά για σύνδεση στο PlayStation 5, υποδηλώνοντας ότι η Sony θα μπορούσε να εξετάσει emulation επιλογές για να προσφέρει μια σωστή συμβατότητα του PlayStation 3 με το PlayStation 5.

Είναι πιθανό η λειτουργικότητα να είναι στα σκαριά για την ολοκαίνουργια υπηρεσία PlayStation Plus, η οποία, προς το παρόν, προσφέρει μόνο τη δυνατότητα για stream τίτλων του PlayStation 3.
Επιπλέον, ο Jeff Grubb του VentureBeat φαίνεται να έχει κάποια γνώση για τις πιθανές προσπάθειες της Sony να ενεργοποιήσει τη backward compatibility του PlayStation 3.
“Από τότε που μιλούσα για αυτό όλη την εβδομάδα, έψαξα, ρώτησα. . . ακούγεται ότι η Sony μπορεί να εργάζεται για emulation του PS3 στο PS5”, είχε σχολιάσει ο Grubb τον Απρίλιο. “Μπορεί να πάρει λίγο χρόνο”.
Ίσως η στιγμή που θα μπορούμε τελικά να έχουμε πλήρη backward compatibility για PlayStation 3 τίτλους με δυνατότητα λήψης και συνδεσιμότητα περιφερειακών στο PlayStation 5 να μην είναι μακριά.